Apple, klavyedeki bir tuşu fareye dönüştürüyor
Teknoloji devi Apple, dizüstü bilgisayarlar için klavye ve fareyi birleştiren yenilikçi bir patent aldı. "Deployable Key Mouse" olarak adlandırılan bu sistem, klavyedeki bir tuşun sökülerek fare olarak kullanılabilmesini sağlıyor.
0:00
--:--
Son Güncelleme: 17.07.2025 - 10:46
- Apple, klavyedeki bir tuşun çıkarılıp fare olarak kullanılmasını sağlayan "Deployable Key Mouse" adıyla yeni bir patent aldı.
- Çıkarılabilir tuş, üzerinde bulunan konum algılayıcı sayesinde masa üzerinde hareket ettirilerek imleç kontrolü yapacak.
- Kendi pili ve devre yapısına sahip olacak olan bu minik fare, yerine takıldığında normal bir klavye tuşu olarak çalışmaya devam edecek.
- Bu teknoloji, ek bir fare taşımak istemeyen MacBook kullanıcıları için pratik bir çözüm sunmayı amaçlıyor.
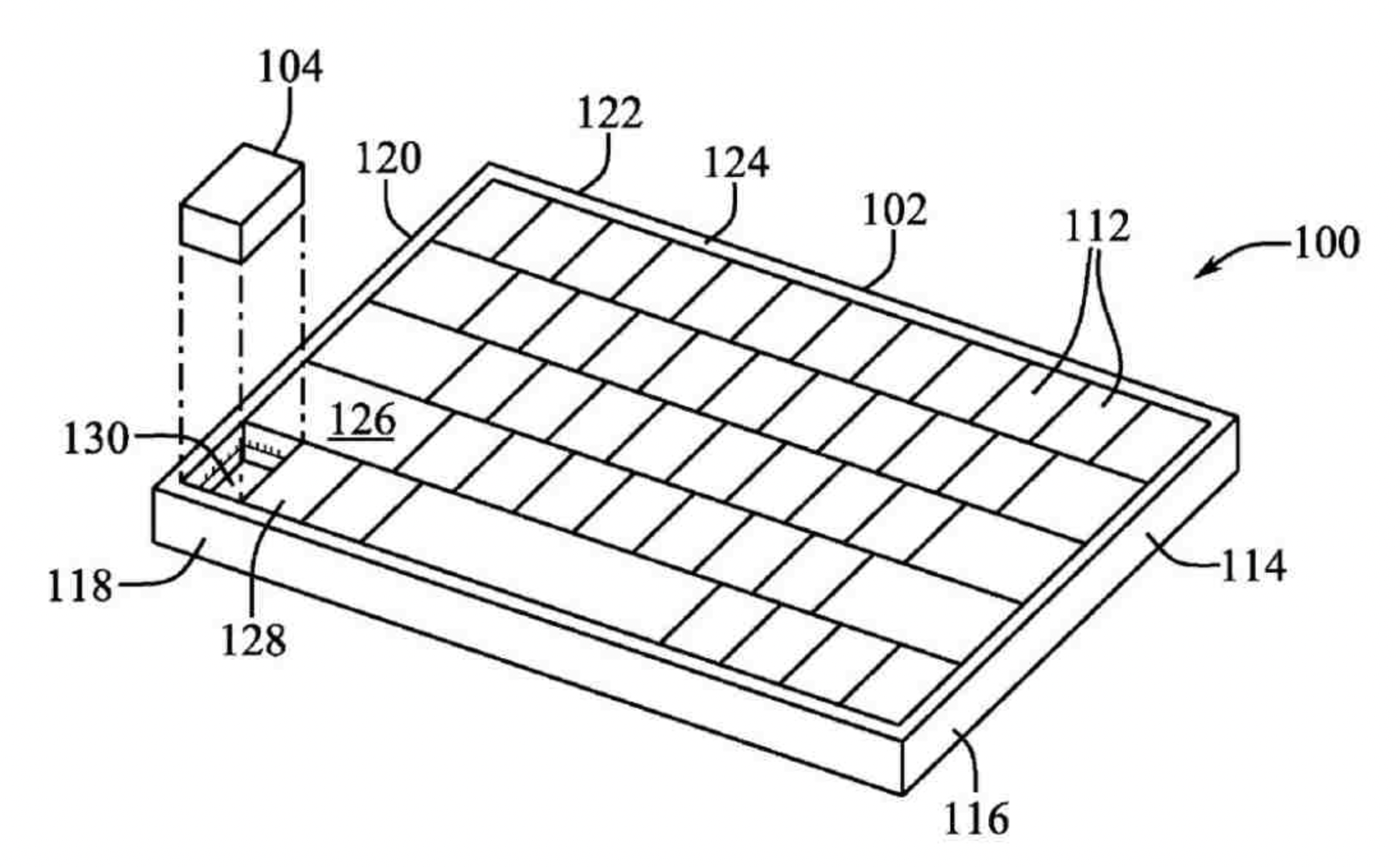
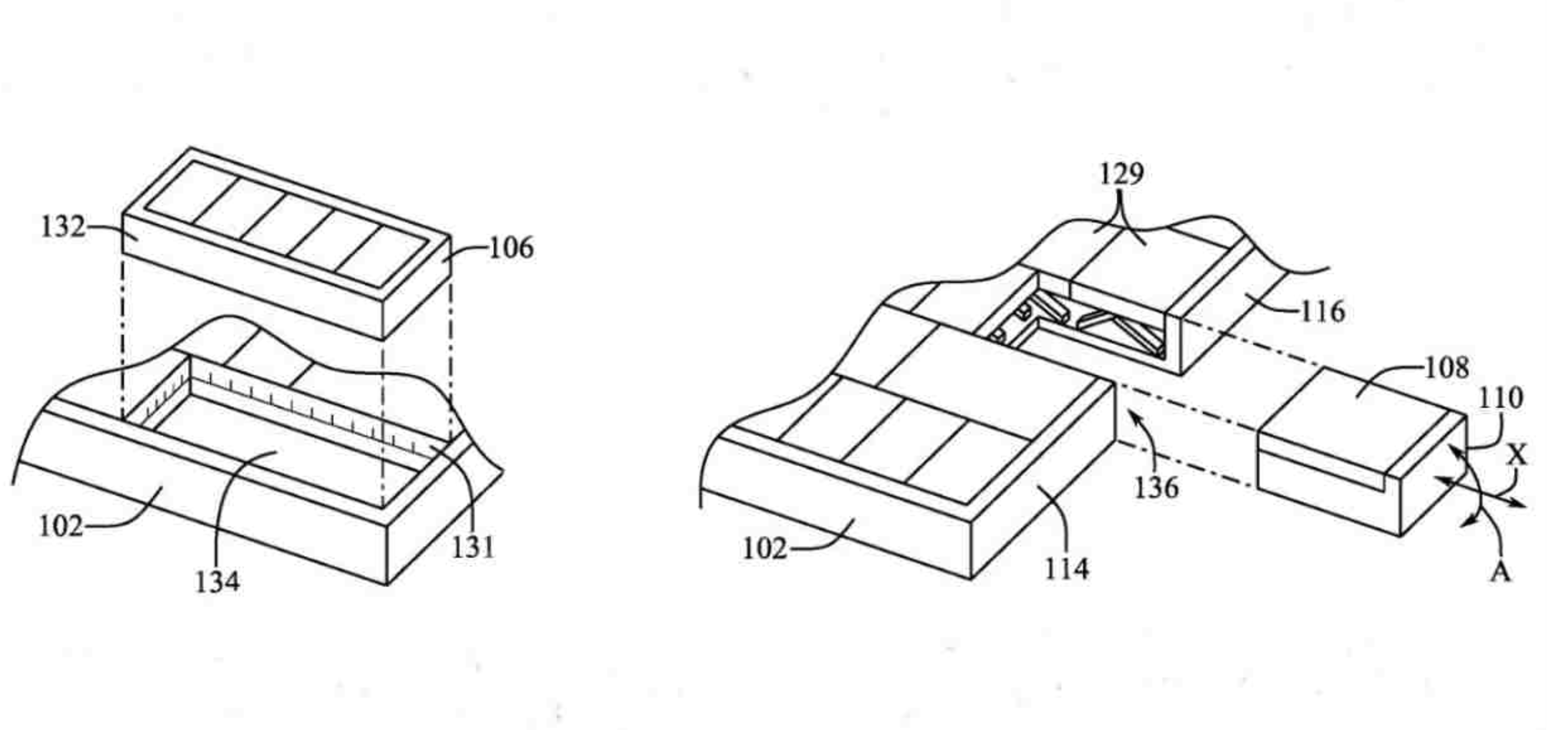
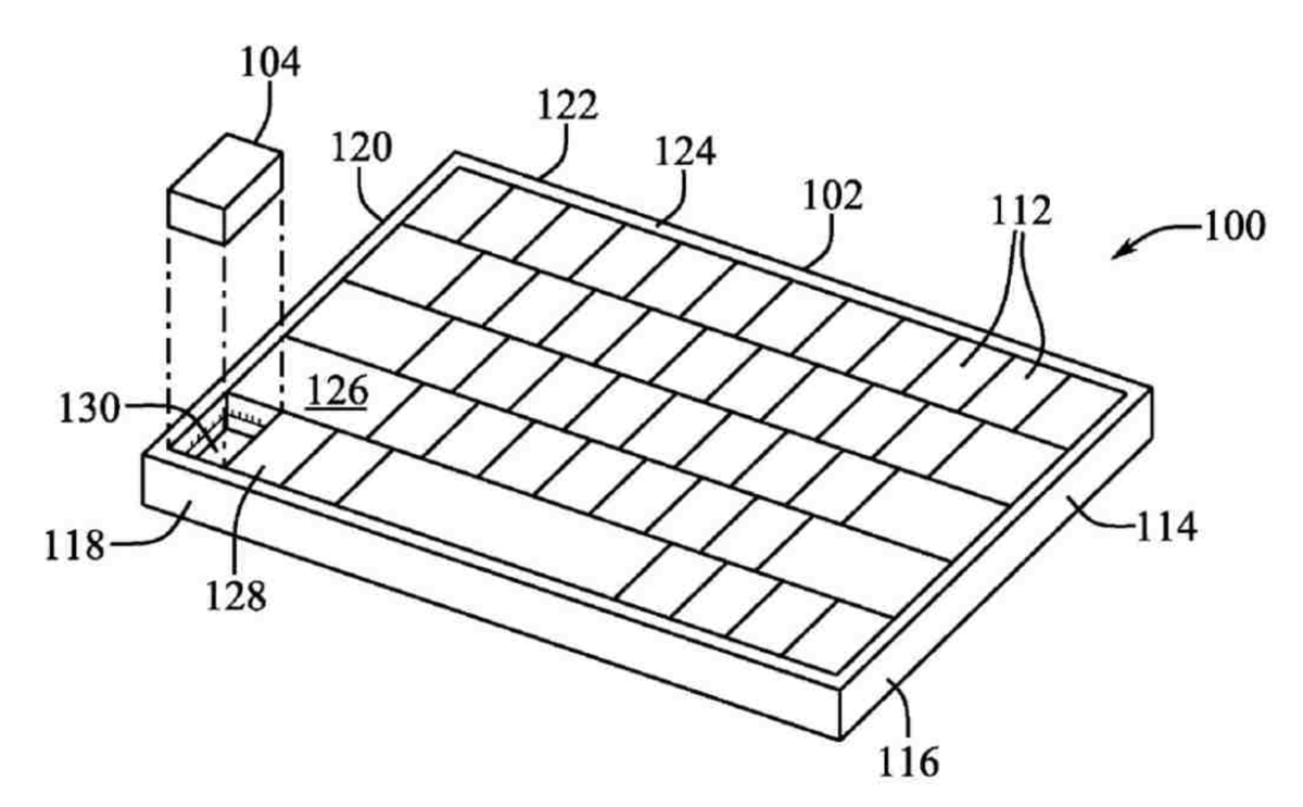
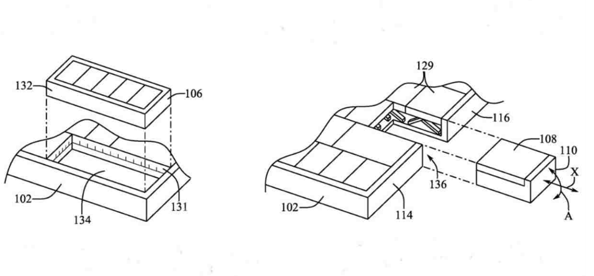
Patent klavyeden çıkan bir fareyi tanımlıyor
Apple'ın dizüstü bilgisayar tasarımlarında devrim yaratabilecek yeni patenti, teknoloji dünyasında ilgiyle karşılandı. Şirketin "Deployable Key Mouse" (Yerleştirilebilir Anahtar Fare) adını verdiği sistem, klavye ve fareyi tek bir parçada birleştiriyor.
Bu tasarıma göre, MacBook klavyesindeki özel bir tuş, gerektiğinde yerinden kolayca çıkarılabilecek. Kullanıcılar bu tuşu, küçük bir fare olarak kullanarak imleç kontrolü sağlayabilecek.
Özel tuş kendi pili ve sensörüne sahip olacak
Patent detaylarına göre bu özel tuş, sıradan bir klavye parçasından çok daha fazlasını barındıracak. Üzerinde bulunacak olan konum algılayıcı sensörler, tuşun bir yüzey üzerinde hareket ettirilmesini takip ederek imlecin hareketini sağlayacak.
Ayrıca bu minik farenin kendi piline ve devre yapısına sahip olacağı belirtildi. Kullanılmadığı zamanlarda ise klavyedeki yuvasına takılarak standart bir tuş işlevi görmeye devam edecek.
Amaç harici fare taşıma zorunluluğunu bitirmek
Apple, bu yenilikçi teknolojiyle özellikle mobil haldeki kullanıcıları hedef alıyor. Patentin amacı, yanında ek bir fare taşımak istemeyen kullanıcılara, trackpad'e ek olarak daha hassas bir kontrol seçeneği sunmak.
Ancak bu yeniliğin bazı soru işaretlerini de beraberinde getirdiği görülüyor. Cihazın küçük boyutunun, uzun süreli kullanımlarda ergonomi ve konfor açısından nasıl bir deneyim sunacağı şimdilik belirsizliğini koruyor.
Kaynak:
GDH Haber
İLGİLİ HABERLER
Trump'ın Çin ziyaretine dev heyet: Elon Musk, Tim Cook ve Boeing CEO'su Pekin yolcusu
İOS 26.4.1 güncellemesi yayınlandı mı? Apple İOS 26.4.1 hangi telefonlara gelecek?
Apple’da 15 yıllık dönem kapanıyor: Ternus CEO oldu
Trump'ın baskısı sonuç verdi: Apple ve Intel dev çip anlaşmasına imza attı
İphone fiyatları ne kadar oldu? Apple ile İphone 17 Pro, Air, 17, 17e, 16 fiyatları kaç bin TL?
İOS 26.5 güncellemesi geldi mi? Apple ile İOS 26.5 özellikleri nelerdir, ne zaman, hangi telefonlara gelecek?
DİĞER HABERLER
Evlerdeki büyük casus! Bebek kameralarına dikkat: Tüm mahremiyetiniz deşifre olabilir
Turkcell’den erişilebilirlik hamlesi: Yılda 200 bin engelliye teknolojik destek
Turkcell 2026 yılına 5G ve güçlü finansal sonuçlarla başladı
İOS 26.5 güncellemesi geldi mi? Apple ile İOS 26.5 özellikleri nelerdir, ne zaman, hangi telefonlara gelecek?
İnsansı ev robotu NEO satışa çıktı: 5 günde stokları tükendi, fiyatı dudak uçuklattı!
İnstagram çöktü mü? 23 Nisan İnstagram'da sorun mu var?
Türk mühendisliğinden Avrupa’ya finans teknolojisi ihracı
İOS 26.4.1 güncellemesi yayınlandı mı? Apple İOS 26.4.1 hangi telefonlara gelecek?
OYAK küresel teknoloji şirketlerini takibe aldı
Turkcell Türkiye’yi 'gerçek 5G' ile tanıştırdı: Paketler 5’e katlanıyor




